- 索尼公布一项新的传感器变形技术专利
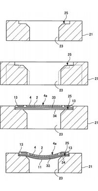
泡泡网数码相机频道9月28日 索尼公布一项新的传感器变形技术专利(No.2012-182194),该技术透过利用电磁、冷缩热胀或真空等外力,使传感器在一定范围内产生内凹曲面变形,从而修正镜头像场弯曲,改善广角镜头边缘画质,同时可以减少镜片数量,缩小镜头体积。 众所周知相机所使用的传感器都是平面的,当广角镜头要在平面传感器上获得完美的成像,就需要尽量减少镜头像场弯曲,降低镜头边
袁源 · 2012-09-28 09:29 - 索尼全画幅相机RX1样片 ISO6400可用
泡泡网数码相机频道9月28日 索尼在2012年Photokina之前出乎意料的推出RX1——首款全画幅DC,索尼黑卡RX1首次采用了35mm全画幅约2430万有效像素的Exmor CMOS影像传感器,配合卡尔.蔡司Sonnar T* 35mm F2镜头,全新的BIONZ高速影像处理器,及直观的菜单操作,在保证机身最小化的同时实现全画幅的精湛画质及专业的操控体验,以满足更多摄影师对于专业备机的苛刻要
袁源 · 2012-09-28 00:01 - Photokina2012:小型全幅相机之战开始
泡泡网数码相机频道9月27日 2012年于德国科隆举行的两年一次的世界影像博览会(Photokina)已经过去,这次展会向我们传达了这样的信息:高像素之战已经过去,传感器尺寸之争才刚刚开始。 为什么这么说呢?看看这次博览会上的新品吧,像尼康D600、佳能6D、徕卡M-E、索尼RX1,这些相机的像素并不算高,但都有一个共同特点:均采用全画幅传感器。而另外一个值得关注的信息是,这
袁源 · 2012-09-27 10:41 - 中国厂家发售可自动对焦的EF-NEX接环
泡泡网数码相机频道9月27日 终于出现了!自从可以控制光圈的EF-NEX接环出现后,我就一直预计带自动对焦的EF-NEX接环应该都能办得到,现就有人成功研发出来了。一中国的厂家在ebay上发售这个既能控制光圈,且带AF的EF-NEX接环。从产品的图片看,标注是“卓明相机”,在淘宝上能找到这家店。 该接环的售价为250美元(1575人民币),有点贵。■
袁源 · 2012-09-27 09:03 - 富士X100广角转接镜样片 画质很出色
泡泡网数码相机频道9月27日 富士最近发布了一款为专业备机X100量身定做的广角转换镜头——WCL-X100,该镜头加装于X100的镜头上之后,镜头组合焦距将变为原来的0.8倍,即从23mm(135相机等效焦距为35mm)变为19mm广角(135相机等效焦距为28mm)。该转换镜头为日本原产,结构包括三组四片高品质玻璃镜片,能够将像差降低至最小,加上富士龙镜头独家专利的超级EBC镀膜技术,据说带来
袁源 · 2012-09-27 00:01 - 佳能高像素全画幅单反"3D"的最新消息
泡泡网数码相机频道9月26日 佳能的高像素全画幅单反我们也听了不少传闻了,现在再来看一则新的传闻吧。据说这款全幅单反所采用的新型传感器会有很高的动态范围,并且这款新全幅的性能会很出色,将超过尼康D800。 佳能这款高像素全幅单反的像素估计是4000+,型号有可能命名为3D,或者其他什么“D”,总之是以一个新的命名方式出现。■
袁源 · 2012-09-26 11:26 - 三阳发A卡口视频镜头85/1.4 年底上市
泡泡网镜头频道9月26日 Photokina2012展会刚刚过去,三阳就发布了一款索尼A卡口视频镜头85mm f/1.4。这支新镜头价格未知,上市时间将在今年年底前。镜头直径为72mm,重约513g。85mm f/1.4是一支视频镜头,这意味着它在对焦时会非常安静。 到目前为止,三阳已经发布了一下视频定焦镜头:8mm f/3.5,14mm f/2.8,24mm f/1
袁源 · 2012-09-26 10:38 - 索尼斥资40亿购买了奥林巴斯10%股份
泡泡网数码相机频道9月26日 来自路透社的消息,索尼公司斥资500亿日元(40.555亿人民币)购买了奥林巴斯公司10%的股份,成为其最大的股东。两家公司亲密合作后,除了在众所周知的数码相机上共同开发外,还会在医学设备上共同开发。 由于之前发生的严重的财务丑闻,奥林巴斯这家拥有92年历史的公司不得不考虑出售自己的股份来度过难关。■
袁源 · 2012-09-26 09:08 - 美兹发布首款触屏闪光灯 支持TTL模式
泡泡网闪光灯频道9月26日 Metz(美兹)在Photokina 2012会上发布了世界上首款使用触控屏的机顶闪光灯mecablitz 52 AF-1,闪光指数为GN 52(ISO 100/105mm),分别有Canon/Nikon/Olympus/Panasonic/Leica/Pentax/Sony版本,支持TTL。 mecablitz 52 AF-1闪灯以触控屏LC
袁源 · 2012-09-26 08:47 - 摄影师拍摄漂浮的幽灵 真实人体演绎
泡泡网数码相机频道9月22日 1993年,美国德州发生了一宗命案,Joseph Paul Jernigan因为一个微波炉的小事与邻居起了冲突,他杀害了邻居,之后被判处死刑。Joseph Paul Jernigan同意在处决后将身体捐献给医学研究机构作研究用途,在这项名为Visible Human Project的人体研究中,Joseph Paul Jernigan的尸体被明胶和水的混合物包裹和凝结
袁源 · 2012-09-23 00:01 - 冰岛绝美风光作品欣赏 摄影师的天堂!
泡泡网数码相机频道9月21日 冰岛,一个摄影师梦想的目的地,这里有着令人难以置信的景观:巨大的冰川,高耸的火山,绝美的极光。2011年冬季,以色列摄影师Erez Marom来到这个摄影师的天堂,留下这组令人惊叹的风光作品! 冰岛是北大西洋中的一个岛国,位于北大西洋和北冰洋的交汇处,首都雷克雅未克。冰岛通常被视为北欧五国之一。冰岛国土面积为10.3万平方千米,人口约为32万,为欧洲人口密度最小
袁源 · 2012-09-21 00:01 - 苹果首席设计师为徕卡设计限量版相机
泡泡网数码相机频道9月19日 徕卡公司的老板安德烈亚斯·考夫曼博士透露,徕卡新款全幅旁轴相机M的限量版将由苹果公司的传奇设计师乔纳森·伊夫设计,不过这台相机很可能只生产一台进行拍卖,拍卖所得用于慈善。 那么,下一步乔纳森·伊夫会为自己的公司设计相机吗?哈哈,玩笑而已。■
袁源 · 2012-09-19 09:56 - 卡尔蔡司公布3支微单镜头 可自动对焦
泡泡网镜头频道9月18日 蔡司公司在他们自己的博客上公布了将生产索尼NEX和富士XF微单镜头的计划,第一批发布的镜头有三支,分别是12mm f/2.8广角镜头、32mm f/1.8标准定焦镜头、50mm f/2.8微距镜头。镜头的主要特点如下: ·全部支持自动对焦·富士X卡口的蔡司头还支持手动光圈设置·价格都在1000欧元(8257人民币)左右·最早也要在2013年夏季上市·新镜头为
袁源 · 2012-09-18 23:32 - 哈苏发布APS-C画幅奢华微单 售价4万!
泡泡网数码相机频道9月18日 哈苏在今天的Photokina上发布了一款E卡口微单,没错,就是索尼的E卡口。这款微单将命名为Lunar,相信这个命名的缘由来自它的外观(见下图),这款微单的握柄处就是半个弦月的形状。预计Lunar微单的售价为5000欧元(41254人民币)左右,将在2013年的第一季度上市。 哈苏Lunar有一部分配置和索尼NEX-7相似,比如采用相同的2
袁源 · 2012-09-18 23:02 - 施耐德发布8款单反镜头 有微距有折返
泡泡网镜头频道9月18日 除了3款M4/3微单镜头,施耐德在今天的Photokina上还发布了8款单反镜头!分别如下: ·25mm f/2.1全画幅电影镜头·50mm f/2.1全画幅电影镜头·75mm f/2.1全画幅电影镜头·85mm f/2.4微距镜头·28mm f/4.5广角定焦镜头·35mm f/1.4标准定焦镜头·50mm f/1.4标准定焦镜头·28mm f/4.5折返
袁源 · 2012-09-18 15:52 - 14/2.0领衔 施耐德发布3支M4/3新镜头
泡泡网镜头频道9月18日 几个月前施耐德就说过要生产一些微单镜头,今天他们透露了3支为M4/3系统生产的新镜头,分别如下: ·Super-Angulon 14mm/2.0(光圈叶片数为10,包含4个非球面镜片,对焦范围从1:10到无穷远)·Xenon 30mm/1.4(光圈叶片数为7,包含1个非球面镜片,对焦范围从1:10到无穷远)·Makro-Symmar 60mm/2.4 大光圈
袁源 · 2012-09-18 09:28 - 奥林巴斯E-PL5样片抢先看 入门新微单
泡泡网数码相机频道9月18日 奥林巴斯正式发布PEN系列新款微单E-PL5,E-PL5采用来自奥林巴斯旗舰微单OM-D E-M5的那枚1600万像素的影像传感器,46万像素的高灵敏度触屏支持触摸快门。E-PL5的连拍速度为8张/秒,提供了模式转盘、自定义按钮、可翻转的LCD显示屏以及类似E-P3的握柄。
袁源 · 2012-09-18 00:01 - 奥林巴斯正式发布新微单E-PL5和E-PM2
泡泡网数码相机频道9月17日 奥林巴斯正式发布PEN系列新款微单E-PL5和E-PM2。E-PL5搭载14-42mm镜头的预计售价为699美元(4415人民币),E-PM2搭载14-42mm镜头的预计售价为599美元(3783人民币)。 奥林巴斯E-PL5 奥林巴斯E-PM2 两款微单均采用来自奥林巴斯旗舰微单OM-D
袁源 · 2012-09-17 18:01 - 佳能发布廉价全画幅6D 内置WiFi和GPS
泡泡网数码相机频道9月17日 佳能正式发布入门级全画幅单反EOS 6D,小巧、轻便、价格低廉是EOS 6D的特点。EOS 6D的预计售价为2099美元(13251人民币)。这与尼康D600一样,好吧,这次C/N真的是要血战一场了。你会选择谁呢? EOS 6D采用经过改进的2020万像素全画幅传感器,拥有11点自动对焦系统,包含一个F2.8精度的十字型对焦点
袁源 · 2012-09-17 17:03 - 《舌尖上的中国》执行编导闫大众专访
泡泡网数码摄像机频道9月17日 2012年9月11日,索尼可换镜头DV新品NEX-VG900E/NEX-VG30E发布的头一天,我们在广州香格里拉大酒店对《舌尖上的中国》三位主要的执行编导之一闫大众进行了一次专访。作为《舌尖上的中国》的首席摄像师,闫导用VG900E做了一个小短片《鱼市人生》,在这次访谈过程中也与大家一起分享了他在拍摄过程中的感悟。 Q:现在单反已经深入到影视行业的各
袁源 · 2012-09-17 13:02